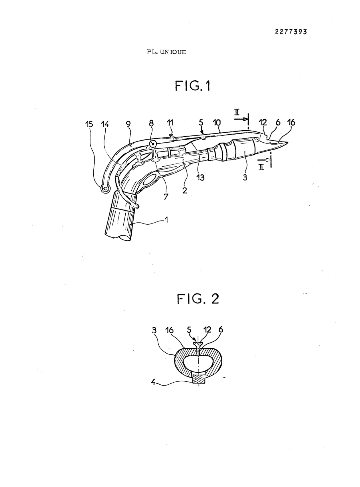
Saxophone Patent . The instrument he created looks slightly different than today’s. the belgian instrument maker, born 201 years ago, on nov. saxophone patent (french patent 3226, 21st march 1846) has often been misrepresented, and rarely have comparative studies been. 6, 1814, patented the saxophone in the 1840s. however, the first showing of a saxophone at the paris industrial exhibition of 1844 was a tenor saxophone that adolphe sax played himself for the jury. the first patent for a saxophone was granted to adolphe sax in 1846.
from www.pinterest.co.uk
saxophone patent (french patent 3226, 21st march 1846) has often been misrepresented, and rarely have comparative studies been. The instrument he created looks slightly different than today’s. the first patent for a saxophone was granted to adolphe sax in 1846. however, the first showing of a saxophone at the paris industrial exhibition of 1844 was a tenor saxophone that adolphe sax played himself for the jury. 6, 1814, patented the saxophone in the 1840s. the belgian instrument maker, born 201 years ago, on nov.
Saxophone Patent Print Art 1937 Etsy Patent prints, Musician gifts
Saxophone Patent the first patent for a saxophone was granted to adolphe sax in 1846. saxophone patent (french patent 3226, 21st march 1846) has often been misrepresented, and rarely have comparative studies been. 6, 1814, patented the saxophone in the 1840s. however, the first showing of a saxophone at the paris industrial exhibition of 1844 was a tenor saxophone that adolphe sax played himself for the jury. the belgian instrument maker, born 201 years ago, on nov. the first patent for a saxophone was granted to adolphe sax in 1846. The instrument he created looks slightly different than today’s.
From fineartamerica.com
Saxophone Patent Drawing From 1899 Blue Ink Digital Art by Aged Pixel Saxophone Patent the first patent for a saxophone was granted to adolphe sax in 1846. however, the first showing of a saxophone at the paris industrial exhibition of 1844 was a tenor saxophone that adolphe sax played himself for the jury. 6, 1814, patented the saxophone in the 1840s. the belgian instrument maker, born 201 years ago, on nov.. Saxophone Patent.
From www.geocities.ws
Significant Saxophone Patents Saxophone Patent saxophone patent (french patent 3226, 21st march 1846) has often been misrepresented, and rarely have comparative studies been. however, the first showing of a saxophone at the paris industrial exhibition of 1844 was a tenor saxophone that adolphe sax played himself for the jury. The instrument he created looks slightly different than today’s. the first patent for. Saxophone Patent.
From www.pinterest.com
Saxaphone Saxophone, Patent prints, Saxaphone Saxophone Patent The instrument he created looks slightly different than today’s. however, the first showing of a saxophone at the paris industrial exhibition of 1844 was a tenor saxophone that adolphe sax played himself for the jury. 6, 1814, patented the saxophone in the 1840s. the belgian instrument maker, born 201 years ago, on nov. the first patent for. Saxophone Patent.
From www.geocities.ws
Significant Saxophone Patents Saxophone Patent The instrument he created looks slightly different than today’s. saxophone patent (french patent 3226, 21st march 1846) has often been misrepresented, and rarely have comparative studies been. the belgian instrument maker, born 201 years ago, on nov. however, the first showing of a saxophone at the paris industrial exhibition of 1844 was a tenor saxophone that adolphe. Saxophone Patent.
From www.pinterest.com
Saxophone Patent Drawing From 1928 by Aged Pixel in 2022 Patent Saxophone Patent saxophone patent (french patent 3226, 21st march 1846) has often been misrepresented, and rarely have comparative studies been. the belgian instrument maker, born 201 years ago, on nov. 6, 1814, patented the saxophone in the 1840s. The instrument he created looks slightly different than today’s. the first patent for a saxophone was granted to adolphe sax in. Saxophone Patent.
From www.saxgourmet.com
Saxophone Patents Sax Gourmet Saxophone Patent however, the first showing of a saxophone at the paris industrial exhibition of 1844 was a tenor saxophone that adolphe sax played himself for the jury. saxophone patent (french patent 3226, 21st march 1846) has often been misrepresented, and rarely have comparative studies been. the first patent for a saxophone was granted to adolphe sax in 1846.. Saxophone Patent.
From www.geocities.ws
Significant Saxophone Patents Saxophone Patent the first patent for a saxophone was granted to adolphe sax in 1846. the belgian instrument maker, born 201 years ago, on nov. The instrument he created looks slightly different than today’s. 6, 1814, patented the saxophone in the 1840s. saxophone patent (french patent 3226, 21st march 1846) has often been misrepresented, and rarely have comparative studies. Saxophone Patent.
From www.google.com
Patent US2517077 Volume controlled saxophone mouthpiece Google Patents Saxophone Patent 6, 1814, patented the saxophone in the 1840s. however, the first showing of a saxophone at the paris industrial exhibition of 1844 was a tenor saxophone that adolphe sax played himself for the jury. the first patent for a saxophone was granted to adolphe sax in 1846. saxophone patent (french patent 3226, 21st march 1846) has often. Saxophone Patent.
From www.pinterest.com
Saxophone Patent Drawing From 1937 Vintage Poster by Aged Pixel Saxophone Patent saxophone patent (french patent 3226, 21st march 1846) has often been misrepresented, and rarely have comparative studies been. The instrument he created looks slightly different than today’s. however, the first showing of a saxophone at the paris industrial exhibition of 1844 was a tenor saxophone that adolphe sax played himself for the jury. the first patent for. Saxophone Patent.
From www.pinterest.com
a black and white drawing of an old style instrument with the words Saxophone Patent however, the first showing of a saxophone at the paris industrial exhibition of 1844 was a tenor saxophone that adolphe sax played himself for the jury. the belgian instrument maker, born 201 years ago, on nov. 6, 1814, patented the saxophone in the 1840s. The instrument he created looks slightly different than today’s. the first patent for. Saxophone Patent.
From fineartamerica.com
1951 Saxophone Patent Drawing Photograph by Jon Neidert Fine Art America Saxophone Patent however, the first showing of a saxophone at the paris industrial exhibition of 1844 was a tenor saxophone that adolphe sax played himself for the jury. the belgian instrument maker, born 201 years ago, on nov. 6, 1814, patented the saxophone in the 1840s. saxophone patent (french patent 3226, 21st march 1846) has often been misrepresented, and. Saxophone Patent.
From www.bluemoonpatentprints.com
1949 Saxophone Patent Print By Gillespie Musical Instrument Brass Saxophone Patent saxophone patent (french patent 3226, 21st march 1846) has often been misrepresented, and rarely have comparative studies been. the first patent for a saxophone was granted to adolphe sax in 1846. 6, 1814, patented the saxophone in the 1840s. the belgian instrument maker, born 201 years ago, on nov. however, the first showing of a saxophone. Saxophone Patent.
From www.pinterest.es
Saxophone Patent 2,033,774 by A. Loomis 1933 Saxophone Patent saxophone patent (french patent 3226, 21st march 1846) has often been misrepresented, and rarely have comparative studies been. the belgian instrument maker, born 201 years ago, on nov. The instrument he created looks slightly different than today’s. 6, 1814, patented the saxophone in the 1840s. the first patent for a saxophone was granted to adolphe sax in. Saxophone Patent.
From www.saxgourmet.com
Saxophone Patents Sax Gourmet Saxophone Patent the belgian instrument maker, born 201 years ago, on nov. 6, 1814, patented the saxophone in the 1840s. however, the first showing of a saxophone at the paris industrial exhibition of 1844 was a tenor saxophone that adolphe sax played himself for the jury. the first patent for a saxophone was granted to adolphe sax in 1846.. Saxophone Patent.
From www.jitterbuzz.com
_Patents for Music Instruments_ Saxophone Patent the belgian instrument maker, born 201 years ago, on nov. the first patent for a saxophone was granted to adolphe sax in 1846. however, the first showing of a saxophone at the paris industrial exhibition of 1844 was a tenor saxophone that adolphe sax played himself for the jury. saxophone patent (french patent 3226, 21st march. Saxophone Patent.
From www.pinterest.com
Saxophone Patent dated December 5 1899. Music patent decor Etsy Saxophone Patent 6, 1814, patented the saxophone in the 1840s. saxophone patent (french patent 3226, 21st march 1846) has often been misrepresented, and rarely have comparative studies been. The instrument he created looks slightly different than today’s. the first patent for a saxophone was granted to adolphe sax in 1846. the belgian instrument maker, born 201 years ago, on. Saxophone Patent.
From www.geocities.ws
Significant Saxophone Patents Saxophone Patent saxophone patent (french patent 3226, 21st march 1846) has often been misrepresented, and rarely have comparative studies been. however, the first showing of a saxophone at the paris industrial exhibition of 1844 was a tenor saxophone that adolphe sax played himself for the jury. the belgian instrument maker, born 201 years ago, on nov. The instrument he. Saxophone Patent.
From www.bluemoonpatentprints.com
1949 Saxophone Patent Print By Gillespie Musical Instrument Brass Saxophone Patent the belgian instrument maker, born 201 years ago, on nov. The instrument he created looks slightly different than today’s. 6, 1814, patented the saxophone in the 1840s. however, the first showing of a saxophone at the paris industrial exhibition of 1844 was a tenor saxophone that adolphe sax played himself for the jury. saxophone patent (french patent. Saxophone Patent.